2022-06-24 責任編輯: 富寶科技 0

行星減速機的功能是在降低與之相連接的電機的轉速的同時輸出更大的轉矩,因此被廣泛利用與各行各業中,且對各類與之相連接的設備運行精度均有較大影響,由于行星減速機的內部的太陽輪和行星輪需要通過卡齒嚙合配合轉動,而多個齒輪配合轉動時往往會發生震動,震動不僅會導致內部結構之間配合精度降低,導致行星減速機的傳動精度下降,震動過于激烈時還易造成部件的損毀,縮短行星減速機的使用壽命,且行星減速機的震動導致其與其他裝置或機構的連接固定點松動,且震動還會被傳遞至其他裝置或機構上,從而擴大震動造成的不利影響,針對以上問題,可以提出一種新型行星減速機,通過在行星減速機的內部和外部同時增設減震機構,起到多重減震的效果,提升行星減速機的傳動穩定性。

一種多重減震行星減速機,解決了現有技術震動會導致行星減速機運行不穩定的問題?
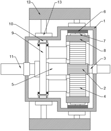
一種多重減震行星減速機,包括保護外殼,保護外殼的內設置有太陽輪,太陽輪的一側固定連接有輸入軸,輸入軸貫穿保護外殼在貫穿處通過軸承套與保護外殼轉動連接,太陽輪的外側設置有三個呈陣列分布的行星輪,行星輪與太陽輪通過卡尺嚙合連接,太陽輪的外側設置有齒環,所有的太陽輪均與齒環通過卡齒嚙合連接,齒環的外側設置有連接套,連接套與保護外殼固定連接,連接套和保護外殼通過若干個內連接件連接,太陽輪遠離輸入軸的一側設置有支撐架,三個行星輪均通過連接柱與支撐架固定連接,連接柱與行星輪和支撐架均固定連接,支撐架遠離太陽輪的一側固定連接有輸出軸,輸出軸貫穿保護外殼且在貫穿處通過軸承套與保護外殼轉動連接;
內連接件包括固定板、第一彈簧以及滑竿,固定板與齒環的外壁固定連接,固定板與連接套通過滑竿連接,滑竿與固定板固定連接,連接套的內部開設有與滑竿相配合的開槽,滑竿和連接套通過滑竿與開槽的配合滑動連接,開槽的內部設置有第一彈簧,第一彈簧與滑竿和連接套均固定連接。
點
擊
隱
藏